Обнародованный патент Sony может иметь отношение к PSP-телефону
03 июля 2008
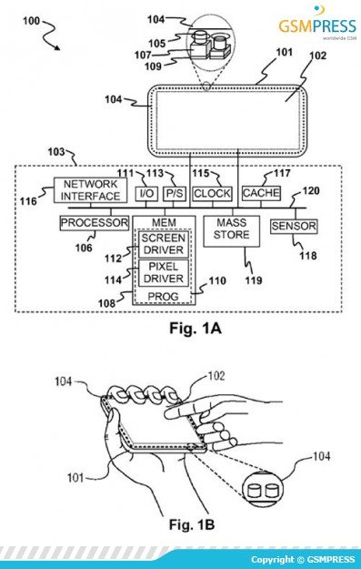
Компания Sony запатентовала концепцию сенсорного девайса, который может оказаться телефоном Play Station Portable. Как известно, слухи об этом телефоне в последнее время возобновились вновь.
Девайс с сенсорным управлением оснащен «тактильными пикселями» — системой специальных органов управления, которые формируются в зависимости от необходимости (как показано на рисунках). Встроенный акселерометр позволит управлять играми еще более эффективно.
В целом, это смелый концепт, который, в случае реализации, может превратиться в довольно любопытное устройство. Аппарат оснащен микрофоном, что превращает его в потенциальный мобильный телефон.
Источник: GSMPress
















































